魏征 | 论答辩策略对创造性判断结论的影响
编者按
在专利无效宣告程序中,请求人对授权专利提出挑战,最常用的无效理由是涉案专利缺乏创造性。根据专利法第二十二条第三款的规定,创造性,是指与现有技术相比,该发明具有突出的实质性特点和显著的进步,该实用新型具有实质性特点和进步。因此,创造性的判断结论,一般是需要与作为现有技术[1]的对比文件进行分析对比而得出的。
一般来说,对比文件及其内容是一种客观存在,对创造性判断的责任主体是训练有素的专业人士——审查员,判断结果一般不会受答辩策略或者答辩技巧的影响,即判断结论不应以答辩策略的优劣为转移,即便在当事人自认或者“有利说不出”的情况下,审查员也需要依法审查独立判断。但在某些情况下,权利人的答辩策略也会影响审查员的内心确认,从而影响创造性判断的结论。
本文以“夹灯”无效案为例进行分析,在两次无效程序对比文件的实质内容基本一样的情况下,由于权利人的答辩策略不同,导致涉案专利被宣告无效的惨痛教训。
目次
一、“夹灯”发明专利简介及其发明构思
(一)“夹灯”发明专利简介
(二)发明构思分析
二、两次无效程序中的答辩策略及其审查决定要点
三、讨论
一、“夹灯”发明专利简介及其发明构思
苏州某公司拥有专利号为ZL 201710458645.3,名称为“夹灯”的发明专利,其申请日为2017年06月16日。其权利要求书共有24项权利要求,其中权利要求1和权利要求13是主题为“一种夹灯”的独立权利要求。
(一)“夹灯”发明专利简介
以权利要求1为例:
“1.一种夹灯,其特征在于,包含:
光源;
第一夹件,具有第一夹持部及连接至该第一夹持部的灯连接部,该光源连接至该灯连接部;以及
第二夹件,具有第二夹持部及设置于该第二夹持部上的配重,该第一夹持部与该第二夹持部受限地滑动连接。 ”
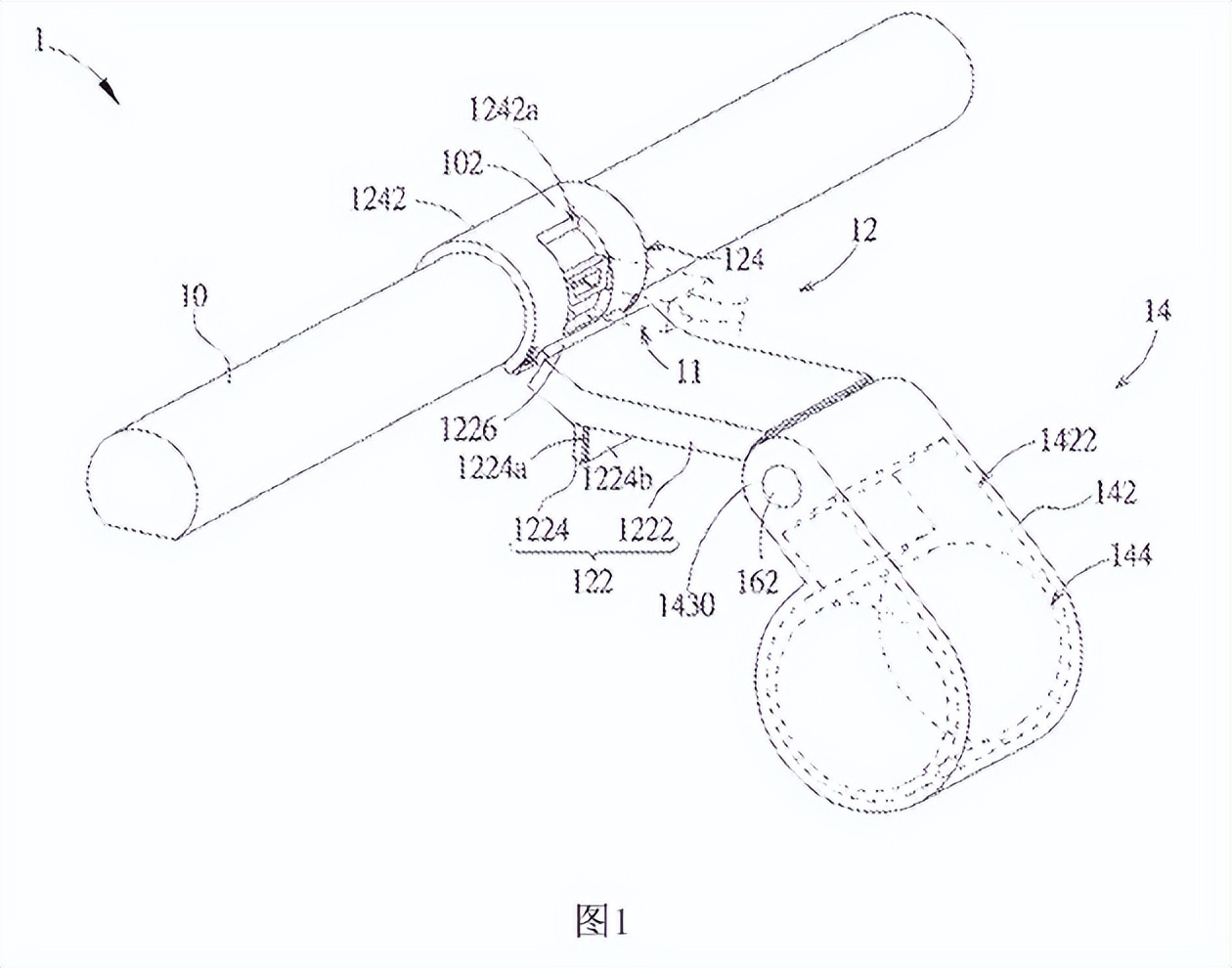
最能体现权利要求1请求保护的技术方案是该专利的附图2(其中的红字是后加上的)。
具体地,该夹灯包含光源10、第一夹件12及第二夹件14。
第一夹件12具有第一夹持部122及连接至第一夹持部122的灯连接部124,光源10连接至灯连接部124。
第二夹件14具有第二夹持部142及设置于第二夹持部142上的配重144(以隐藏线绘示于图中)。
夹灯通过第一夹持部122与第二夹持部142夹持于一结构侧边而设置于该结构侧边上,其中配重144与光源10位于该结构侧边的两侧有助于该夹灯于该结构侧边上的平衡。
也就是说,该发明将灯具支撑在电脑屏幕上方,一侧是灯源(或光源),一侧是配重,两侧都可根据实际需要变换重量及位置,即配重可根据灯源的不同重量及重心的调整进行不同重量配置,同时两夹持部间夹持位置可相对移动,以达到平衡,使得灯具能较稳定地相对活动地设置在电脑屏幕上。该发明的技术效果是可利用配重来降低夹灯的固定结构承受的扭矩,有助于提升夹灯固定的稳定度及增加光源相对于夹灯整体的设置位置的设计弹性。
(二)发明构思分析
发明构思的分析需根据说明书的介绍“从哪里来、到哪里去,怎么办”来入手。
从哪里来?
说明书的“背景技术”介绍:
传统照明装置多是固定式且体积较大,例如吊灯、嵌灯、台灯等。当使用者仅需局部照明或是局部加强照明时,一般使用邻近屏幕设置的灯具。
目前市面上已有可固定于屏幕上使用的灯具。例如使用小型蛇管的USB灯,……蛇管长度通常不长,导致光源无法拉太远,使得光源能照明的范围有限。
又例如使用夹具夹持固定的灯具,其整个结构重量由夹具支撑,夹具位于整个灯具的一端侧,故夹具需能提供足够的夹持力,以使灯具能稳固地固定。此外,……此灯具不适合窄边框屏幕。
又例如使用双面胶固定的灯具,其整个结构重量即经由双面胶支撑,双面胶能支撑的重量及力矩有限,故此种灯具的重量、体积均较小,使得光源通常无法拉太远,光源能照明的范围有限。
因此,有必要设计一种新型的夹灯,以克服上述缺陷。
到哪里去?
本发明的目的在于提出一种夹灯,利用配重来降低夹灯的固定结构承受的扭矩,有助于提升夹灯固定的稳定度及增加光源相对于夹灯整体的设置位置的设计弹性。
怎么办?
本发明的夹灯
通过第一夹持部与第二夹持部夹持于一结构侧边而固定地设置于该结构侧边上,其中,配重与光源位于该结构侧边的两侧
——有助于该夹灯于该结构侧边上的平衡,利用配重来降低夹灯的固定结构承受的扭矩,
——有助于提升夹灯固定的稳定度及增加光源相对于夹灯整体的设置位置的设计弹性。
发明构思概括
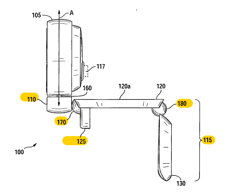
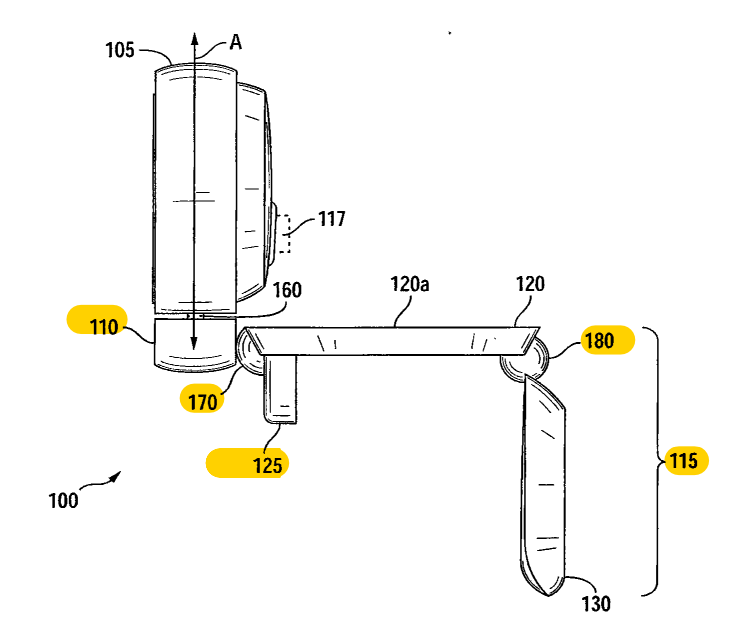
该发明“通过第一夹持部与第二夹持部夹持于一结构侧边(即电脑屏幕)而固定地设置于该结构侧边上,其中,配重与光源位于该结构侧边的两侧。
形象地说,该发明借鉴了如下图所示“跷跷板”原理。从“跷跷板”的支点看,配重与光源分别相对于支点有一定的距离,配重与光源好比两个小孩分居于“跷跷板”的两侧,实现配重与光源的平衡;从而有助于提升夹灯固定的稳定度,增加光源相对于夹灯整体的设置位置的设计弹性。
二、两次无效程序中的答辩策略及其审查决定要点
“夹灯”发明专利经历过两次无效请求。下来分别说明两次无效程序中专利权人的答辩策略对审查结论的影响。
在第一次无效程序中,请求人提出了两组评价创造性的对比文件,即分别用证据1和证据5作为“最接近的现有技术”。
创造性判断的基本过程是,首先,搞清楚本专利(被请求无效的专利)的发明本质即发明构思;接着,分析并回答对比文件是否公开了本专利的发明构思,如果答案为否,则本专利与该对比文件有本质区别,相对于该对比文件,本专利具有创造性;如果答案为是,说明该对比文件的发明构思与本专利没有实质区别,那么,再来看本专利的权利要求是否有修改的余地,以便于该对比文件公开的技术方案拉开一段距离,否则,创造性的评价岌岌可危。
权利人具体的答辩策略是:
1、先向合议组说明本专利的发明构思,以“跷跷板”原理解释本专利的关键技术手段是在基本的跷跷板结构两侧的配重与灯源之间的平衡。
2、针对两组“最接近的对比文件”,对比文件1和对比文件5,分别说明其发明构思与本专利的本质不同。
3、进一步说明,在对比文件与本专利发明构思不同的情况下,就不存在将该堆积文件与其他现有技术相结合的技术启示,即本领域技术人员没有动机去朝着本专利技术方案的方向对现有技术进行改进。
下面以第一次无效请求中的证据5(CN 102263888 A,公布日为2011年11月30日)作为最接近现有技术为例。
如下图所示,证据5公开了一种具有折叠支撑件的图像捕获装置。该图像捕获装置也是安置在电脑屏幕上,但该装置不是用来照明,而是作为便携的摄像头用于视频聊天。
上面的左图表示该装置安装在显示器上的状态,其中,前壁125与后壁130之间的空缺位置,刚好与显示器的壁厚大致相同,并通过后壁130与铰链180配合,可调整固定位置。上面右图表示该装置收拢后的状态,实现便于携带的目的。
由此可以看出,证据5的发明构思与本专利完全不同,其不具备通过跷跷板两端的配重与光源平衡的原理。证据5因其自身重量轻便,通过夹持即能固定牢固,故并不需要配重,其上壁和前壁的组合与后壁之间也非受限地连接。因此,专利权人认为,本领域技术人员不可能基于证据5的方案向着本专利的“跷跷板”原理的技术方案去改进。
本案合议组在创造性的判断中,仍沿用“三步法”的逻辑推理。在三步法中的第一步关于证据5是否构成本专利的“最接近的现有技术”方面,合议组并不做分析,只是依实务惯常做法默认请求人已经完成了三步法的第一步。在缺失第一步的考察下,继续后两步骤,便会导致分析过程事倍功半。在不考虑中发明构思是否相同下,合议组首先进行区别特征的对比,审查决定[2]写道:
“将证据5公开的上述内容与本专利权利要求1相比可知,证据5的上壁120和前壁125的组合对应于本专利的第一夹持部,上壁120前端与第一铰链170连接的部分对应本专利的灯连接部,证据5的后壁130对应于本专利的第二夹持部。可见,本专利权利要求1与证据5之间的区别技术特征在于:本专利要求保护的是一种包含光源的夹灯,其第二夹持部设置有配重,且第一夹持部和第二夹持部受限地获得连接,而证据5是一种图像捕获装置,因其自身重量轻便,通过夹持即能固定牢固,故并未设置有配重,其上壁和前壁的组合与后壁之间也非受限地连接。基于上述区别技术特征可知,本专利权利要求1相对于证据5来说实际解决的技术问题是如何提供一种夹灯并提升其固定稳定度以及增加光源相对于夹灯整体的设置位置的设计弹性。”
接着,合议组继续分析证据5是否与其他证据结合的技术启示。审查决定写道:“证据5所公开的便携摄像装置其本身轻便的特点决定其根本不存在因重量导致的固定稳定性问题,也不需要利用配重来降低固定结构承受的扭矩,即证据5并不需要配重来实现图像捕获装置的整体平衡;”这段话已经表明证据5的发明构思与本专利不同。但接下来的对证据4和证据6的分析更加有趣,审查决定先认可“证据4和证据6给出了通过设置配重物实现灯具重力平衡的技术启示”:其分析道:
“证据4公开的照明设备在悬挂在诸如床头的支持物上时,其宽绳带25的一端连接至照明设备壳体1的顶部、另一端设有配重28,通过具有配重28的宽绳带25的设置来抵消照明设备的重量以使照明设备稳固地保持水平位置,证据6公开的灯具位置调整装置,通过将配重设置于悬臂相对于灯具的另一端,以一转轴作为支点来利用配重的重量平衡灯具的重量,即证据4和证据6给出了通过设置配重物实现灯具重力平衡的技术启示”。
但接着又来了个大转折:“然而,如上所述,在证据5的技术方案中本身没有设置配重来进行平衡需求的情况下,即使证据4、证据6公开了增加配重物以提供部件间重力平衡的技术手段,也并不存在将证据5应用到灯具照明领域中并将证据4或证据6结合到证据5以获得本专利权利要求1要求保护的技术方案的技术启示。”一方面承认有证据4和证据6给出了通过设置配重物实现灯具重力平衡的“技术启示”,另一方面又说不存在将证据5应用到灯具照明领域中并将证据4或证据6结合到证据5以获得本专利权利要求1要求保护的技术方案的“技术启示”。
为正确理解上述分析内容,本文认为可以简化表述为:证据5本身没有设置配重来进行平衡需求,因此,证据5自身的结构并不需要证据4和证据6所公开的配重技术手段,因此证据5没有与证据4或证据6结合的需求。
值得肯定的是,专利权人在本次无效请求中坚持以发明构思为导向,全面分析了证据5与本专利的发明构思不同,其答辩策略或许最终影响到合议组做出有利于专利权人的审查结论,尽管审查决定没有使用发明构思概念,但是其分析方法还是或多或少体现出发明构思的意蕴----证据5的发明构思与本专利无关,因此,其他现有技术中的技术手段难以跟证据5结合。
在第二次无效程序中,请求人提出以美国专利US5379201(下称证据1)为最接近的对比文件,该专利的公开日为1995年1月3日、发明名称为“FORTABLE LIGHT FOR LAPTOP COMPUTER”。
我们先来看看证据1的发明构思。
证据 1 公开了一种用于移动电脑的便携式灯,如图2和图3所示,该便携式灯包括相互独立并交互的两个单元:一个电池组单元12 和一个灯总成单元 14。在使用位置,将平面安装面板 74穿过安装夹 54,便可将灯总成 14 安装到电池组 12 上。由此可见,安装后,电池组单元12 和灯总成单元 14相互垂直,构成希腊字母的“Γ”形状,通过平面安装面板 74的滑动推拉调整灯总成 14伸出的距离以适配不同规格的手提电脑。
面对证据1所公开的内容,专利权人却没有从证据1的发明构思入手来评估证据1对本专利的“杀伤力”,而是出乎意料地修改了权利要求书,将原权利要求1中的附加技术特征“该灯连接部包含C形弹性夹,该光源夹持于该C形弹性夹”补入到权利要求1,形成新的权利要求1,并将原权利要求1删除。
修改后的权利要求1如下:
1.一种夹灯,其特征在于,包含:光源;
第一夹件,具有第一夹持部及连接至该第一夹持部的灯连接部,该光源连接至该灯连接部;该灯连接部包含C形弹性夹,该光源夹持于该C形弹性夹;以及
第二夹件,具有第二夹持部及设置于该第二夹持部上的配重,该第一夹持部与该第二夹持部受限地滑动连接。
合议组[3]还是按部就班地沿用三步法的判断思路,认为将证据 1 公开的上述内容与本专利相比可知:
(1)证据 1的便携式灯即为一种夹灯;
(2)灯泡或灯管 64,相当于本专利的光源、灯总成14相当于本专利的第一夹件、电池组 12相当于本专利的第二夹件;
(3)灯总成 14 中安装面板 74、壳体 80 的后壁82 和封闭挡板 90 的组合相当于本专利的第一夹持部;
(4)反射器 60 的后 62 和壳体 80 内的灯泡插座的组合相当于本专利的连接至第一夹持部的灯连接部,同时也相应公开了光源连接至灯连接部;
(5)电池组 12 中电池组12 的矩形本体、可拆装端板 46、内向法兰 56 的组合相当于本专利的第二夹持部,电池相当于本专利的设置于第二夹持部上的配重;
……。
因此,审查决定[4]认为:“本专利权利要求 1 与证据 1之间的区别技术特征仅在于本专利的灯连接部包含 C形弹性夹,光源夹持于该C形弹性夹。基于该区别技术特征可知,本专利权利要求 1相对于证据 1来说实际解决的技术问题是如何固定连接管状光源。”
针对区别技术特征,合议组认为,证据3公开的电脑夹灯与本专利属于相同的技术领域。其附图2(见下图)公开了C形弹性夹。故证据1和证据3的结合,使权利要求1不具有创造性。
三、讨论
在第一次无效程序中,专利权人的答辩策略是从发明构思入手,认为本专利的发明构思采用跷跷板的平衡原理,而证据5的发明构思与本专利不同,证据5并不是与本专利最接近的现有技术,故证据5不能与其他现有技术结合。
但在第二次无效程序中,针对证据1,专利权人没有认清证据1的发明构思同样与本专利的发明构思不同,放弃了从发明构思入手的答辩策略,进而与请求人共舞,主动修改权利要求1,变相承认证据1中的电池组的配重作用,导致合议组认为本专利与证据1的区别技术特征“仅在于”C形弹性夹。
本文认为,实务中,在机械奉行三步法进行创造性判断的现实情况下,大多数被无效的专利中,由于专利权人的答辩策略不当导致专利被无效的比例还是很高的,下面稍加展开说明。
1、第一次无效请求中的证据5与第二次无效请求中的证据1的发明构思基本相同,但为什么合议组认为证据5不能与其他现有技术结合,而证据1却可以?
证据5的图像获取装置用于安装在电脑屏幕上的摄像头,证据1同样也是安装在电脑屏幕上的照明灯,两者都是电脑的外围设备,都具有便携式特点。两者采用的发明构思都是“卡座式”安装结构。而本专利的发明构思采用“跷跷板”平衡机制,故本专利的“跷跷板”结构与证据5、证据1的“卡座式”结构大相径庭。而在两次无效中,专利权人都没有将证据5、证据1的“卡座式”安装结构发明构思向合议组做出充分说明。特别是,尽管证据5涉及一种摄像头而非照明灯,但其重点在于采用“卡座式”安装结构,而这种安装结构与本专利的“跷跷板”平衡机制的本质不同就在于本专利是通过配重与光源(另一种配重)的跷跷板结构(相当于两个小孩分坐在电脑屏幕两侧)实现稳定平衡,而“卡座式”安装结构好比将其“坐在墙上(电脑屏幕)”;相当于一个小孩直接端坐在电脑屏幕上,两者的技术方案具有本质区别。
这一重要区别,专利权人似乎没有明确向合议组说明。导致恰好在第二次无效中使用的证据1为便携灯(不是摄像头)且公开了电池组的“配重作用”,加上专利权人“及时配合”修改权利要求1,造成合议组认为专利权人认可了证据1已经公开了原权利要求1的全部技术特征的假象。
事实上,证据1中电池组单元12的“配重作用”并没有形成与灯总成单元14的“跷跷板”平衡机制;证据1是一种便携灯,出于便携目的,自自重较轻,即便没有安装电池,其“卡座式”结构特点照样能使该灯“卡扣”在电脑屏幕上。而本专利中的配重如果失去,则跷跷板就会向另一端倒下而失去平衡,因此,证据1中的所谓电池组的“配重作用”与本专利的配重作用完全不同,不能仅仅因为在术语上出现配重字样,就想当然认为两者作用相同。这一点,专利权人没有向合议组解释清楚,也是其败诉的重要原因。
2、证据1的便携式灯是夹灯吗?
夹灯是一种专设在电脑屏幕上的新型照明装置,是伴随着电脑产品(包括台式机和笔记本电脑)的快速普及而出现的“新物种”。
从上述两种结构的夹灯可以看出,夹灯的结构特点是其采用与电脑屏幕长度相适配的长条形灯管。而便携灯重点在便携上,其通常采用灯泡而不是采用长条形灯管,故便携灯的照明范围有限,两者的照明效果不可同日而语。因此,两者属于不同的物种。物种不同,其结构组成通常也不同。本专利的夹灯采用跷跷板平衡机制,而证据5、证据1均采用“卡座式”。两者的平衡稳定机制不同。因此,关于“证据 1的便携式灯即为一种夹灯”的断言是没有事实依据的主观臆断。遗憾的是,专利权人没有认识到这一点。没有就“证据 1的便携式灯与本专利的夹灯”不是同一物种进行充分论证,这也是专利权人答辩策略的重大缺陷。
3、在证据1与本专利的发明构思有本质区别时,机械适用“三步法”便成为了“两步法”,得出的结论难以成立
第二次无效的审查决定认为本专利权利要求1相对于证据1和证据3的结合不具有创造性,其结论是否正确,可以采用本专利=证据1+证据3的图示法进行验证。即如果以证据1的基本结构为基础,将证据3的C形弹性夹结合到证据1的方案中便能得到本专利的夹灯方案,则审查决定的结论便为真,反之则说明该结论不成立。
但我们用肉眼就可以观察到,证据3中的C形弹性夹的开口处用来夹住照明灯21,并通过枢轴211的360°转动调整照明角度;而证据1中的灯泡64已经装在灯总成14中,自身没有可调整的结构,只能通过灯总成14的前后推拉调整灯泡与电脑屏幕的距离。因此,如果强行将C形弹性夹纳入证据1的结构中,该C形弹性夹在证据1中根本没有“立身之处”, 只能作为证据1的“身外之外”。这也充分说明 证据1同样也排斥与证据3的结合。但审查决定的确得出了基于两者结合本专利权利要求1没有创造性的结论,大部分原因可归结于专利权人没有充分理解C形弹性夹在证据3中的作用导致的。
作为专利权人,为了避免三步法机械适用所造成的伤害,应该对三步法背后的基本逻辑原理有深刻认识。
三步法中,最重要的是其中的第一步,这是因为确定“最接近的现有技术”是三步法中的逻辑起点,是最重要的一步。以本案为例,如果证据1的确与本专利权利要求1的技术方案很接近(发明构思相同或接近),那么,本领域技术人员对其向着本专利方案的方向进行改进的难度就越小,反之则难度越大。在专利无效程序中,所谓“最接近的现有技术”的证据是由请求人提供的,实务中有观点认为,合议组根本不必考察该证据是否是“最接近的现有技术”,对请求人所主张的“最接近的现有技术”照单全收,这相当于放弃三步法的第一步判断,如此以来,逻辑链条断裂,后面两步的判断便成为无源之水。
因此,专利权人在专利无效程序中,需要集中精力判断作为“最接近的现有技术”证据是否真的与本专利的发明构思接近,不要寄希望于合议组,要充分向合议组阐述本专利的发明构思及技术方案的本质,认真研究请求人提出的各种证据的发明构思。
显然这一点上,本案专利权人的答辩策略忽视了发明构思的准确把握,在本专利夹灯不等于便携式灯的情况下,两者的发明构思明显不同,此时硬要在便携式灯的结构中读出“灯总成14相当于本专利的第一夹件、电池组 12相当于本专利的第二夹件”来,正是典型的“事后诸葛亮”的表现。
注释(上下滑动阅览)
【1】现有技术既包括出版物公开的内容,也包括使用公开的事实内容。为简化起见,本文所称现有技术,除非特别强调,仅指以出版物公开的对比文件。
【2】详见国家知识产权局第48976号审查决定。
【3】需要说明的是,合议组组成人员与第一次无效程序中的合议组成员完全相同。
【4】见国家知识产权局做出的55224号审查决定。
作者:魏征
编辑:Sharon



