李安然 | 论新颖性审查中专利保护范围认定的实质主义径路
本文作者李安然,清华大学法学院硕士研究生。指导教师刘国伟,清华大学法学院外聘专家,北京乾成律师事务所知识产权部高级顾问。
【摘要】
新颖性审查强调专利方案同现有技术的比对,而准确界定专利方案的保护范围,是进行正确比对的必要前置步骤。但以“干煎炸锅案”为典型的新颖性审查实践,却缺乏界定专利方案保护范围的实质努力、流于对权利要求字面含义的全盘照收。
究其原因,在于过度强调对微观层面“技术方案”的孤立考察,却对技术领域、技术问题、技术效果等宏观层面“发明构思”缺乏重视。而专利方案保护范围界定不足所造成的弊端,也在“干煎炸锅”案多个争议焦点的处理中充分体现。
为了更好界定专利方案保护范围,应当加大对“发明构思”的考察权重,在审理过程中优先认定,并以之指引对“技术方案”具体特征的考察。
【关键词】
新颖性;保护范围;权利要求;发明构思;实质主义
目次
一、前言:“干煎炸锅案”诉讼经过
二、新颖性审查忽视专利方案保护范围的界定
三、忽视专利方案保护范围界定在“干煎炸锅案”中造成的问题
1. 混乱的主题名称解释:“干煎炸”锅还是“干煎炸锅”
2. 功能含混的功能性技术特征:“涂覆装置”的解释
3. 脱离专利方案语境的对比文件解释:“加入油脂”特征
四、新颖性审查中界定专利方案保护范围的合理思路
1. 实质主义的思路:先“发明构思”、后“技术方案”
2. 实质主义的边界:维护公众预期利益
五、“干煎炸锅案”新颖性问题再思考
1. 发明构思的界定及比对
2. 技术方案的界定及比对
六、结语
一、前言:“干煎炸锅案”诉讼经过
名称为“自动涂覆油脂的煎炸锅”的ZL 200580018875.3号发明专利,历经八次无效宣告程序之后,终在第九次无效宣告程序中被认定因不具有新颖性而全部无效。而“自动涂覆油脂的煎炸锅”发明专利的第九次无效宣告程序(以下简称“干煎炸锅案”),共历经两次结果翻转、三级人民法院、四次司法审理,而国家知识产权局国知局、北京知识产权法院、北京市高级人民法院、最高人民法院知识产权法庭的认定及各方诉辩,主要围绕权利要求1的新颖性问题展开。[1]
具体而言,权利要求1对应的技术方案(以下简称“专利方案”)是否为对比文件2-1 W089/10085A1号国际专利申请所披露,是核心争议焦点。在专利权人用尽所有上诉机会、收获5份法律文书之后,专利方案最终被认定已为对比文件2-1所公开,不具备专利法第22条2款要求的新颖性。
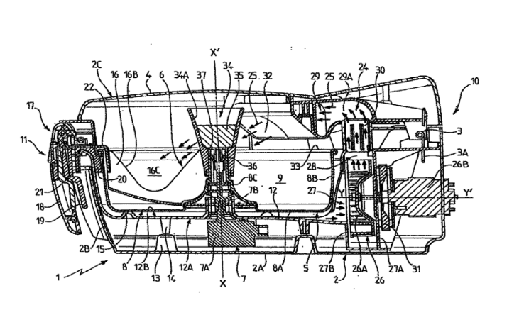
涉案专利附图
对比文件2-1附图
原理上,新颖性认定是专利有效性审查中相对简单确定的环节,[2]但“干煎炸锅案”的诉讼经过却如此曲折,暗示着该案的具体案情及裁判说理值得认真回顾。这样一个“身经百战而不倒”的顽强专利,可专利性基础应当十分牢靠,但却在要求很低的新颖性要件上历经波折并最终倒下,这自然使人对“干煎炸锅”案新颖性认定的合理性产生兴趣。究竟是披露了相同技术方案的对比文件横空出世、破坏了专利方案的新颖性?还是裁判机构的认定出现偏差、误判了专利方案的新颖性?
该案中,权利要求1记载了“一种干煎炸锅(1),该干煎炸锅包括用于容纳待煎炸的食物的主体(2),在所述主体(2)内安装有一装置(5,6),所述装置用于通过将所述食物与油脂混合而给所述食物自动涂覆油脂膜,该干煎炸锅还包括安装在所述主体(2)上的主加热器装置(24),该主加热器装置设计成产生热流(25),该热流定向成直接冲击至少一部分所述食物,所述主加热器装置(24)提供用于烹调的热的至少主要部分”。
细究裁判文书的说理,该案中的四级裁判机构,从国知局到最高院知产法庭,不仅在专利方案新颖性认定的具体结论上存在差异,认定专利方案保护范围的思路亦缺乏一致性。
举例而言,作出一审判决的北京知识产权法院,虽然对新颖性问题的认定有利于专利权人,却始终未对专利方案的保护范围加以分析,而其他审级虽对专利方案保护范围有所认定,但均只在分析对比文件时附带论述,着墨较少。其次,当审理机构进行专利方案保护范围界定时,也并非权利要求1记载的各个技术特征都得到了分析。如,权利要求1所述的“主加热装置”技术特征的界定问题,就为各审级所忽略,而其他审级均有所论述的“干煎炸”主题名称,却在最高院知产法庭的说理中被忽略。最后,即使在同一审级作出的认定中,对权利要求记载的不同技术特征,也采取了不同的解释方法。比如,在无效宣告决定中,专利局国知局对“干煎炸”的解释主要采纳了说明书记载,而对“涂覆装置”[3]则直接以权利要求的字面含义作为保护范围。
以上差异可见,在新颖性审查环节,如何认定专利方案保护范围、特别是如何对待权利要求字面记载的问题,尚未得到足够重视,亦欠缺明确的认定方法。专利方案保护范围是否仅以权利要求字面记载为准即可?权利要求记载的多个技术特征,有的详加界定、有的完全忽略,此种做法是否合理?而更基本的问题是,在新颖性审查环节为专利方案保护范围的界定付出实质的审查资源,是否必要?
基于专利法原理,新颖性审查不应与界定专利方案保护范围脱节,只有认真对待专利方案保护范围本身,才能为专利方案与现有技术的比对提供扎实基础。审查实践中,审理机构之所以未能仔细处理专利方案保护范围,根源在于采用的审查思路隐含了对于权利要求字面含义的过度依赖倾向,造成在纠结权利要求书记载的技术细节之外,结合说明书等材料充分理解发明方案的整体脉络、合理确定保护范围的努力不足。优化改进的审理思路应当是,首先,结合说明书等材料,考察包括技术问题、技术效果等专利方案的整体发明构思,其后,以对发明构思的理解来指引解释权利要求记载中的具体技术特征。
二、新颖性审查忽视专利方案保护范围的界定
新颖性审查的概念本身强调专利方案与某现有技术的比对,[4]但在案件实际裁判中,比对工作要想正确推进,前置性要求是:专利方案本身得到了良好界定,已经确定了专利方案“是什么”。
形式逻辑上,新颖性审查属于三段论式的判断:(1)大前提:专利方案具备某些特定的技术特征;(2)小前提:对比文件中的现有技术具有专利方案的全部技术特征;(3)结论:现有技术披露了专利方案、专利方案不具有新颖性。单纯的比对工作仅对应着小前提判断,而如果忽略了专利方案界定这一大前提问题,方法论即为有误。形象的比喻是,在新颖性审查中,如果开展比对工作的审查机构对专利方案保护范围理解不够准确,就如同文艺点评中的鉴赏家还没将原画真迹欣赏明白,就开始评价临摹作品是否足够逼真,让人怀疑最终结论是否具有说服力。
而界定专利方案保护范围的工作,理论上并无难度,实践中却并不简单。专利法理论在主观视角层面假设了“所属技术领域的技术人员”,知晓申请日或者优先权日之前发明所属技术领域所有的普通技术知识,能够获知该领域中所有的现有技术,并且具有应用该日期之前常规实验手段的能力。[5]同时,在客观材料层面,权利要求书应当清楚、简要地限定要求专利保护的范围。[6]基于此种水平的主观视角和客观材料,处理新颖性审查的大前提问题、得到准确的专利方案保护范围,可谓水到渠成。不过,实践中,审查员和法官自然无法具备“所属技术领域的技术人员”这一虚拟主体的知识水平,类似地,在客观材料方面,权利要求书也会因撰写技术等原因,往往不能清楚记载专利保护范围。综合起来,在新颖性审查实际中,专利方案的保护范围并非不言而喻、不证自明的现成结论,而是需要审理人员付出额外努力加以查明的内容。
自然,专利法并未忽略专利方案保护范围认定的实践难度。现行专利法第64条第1款规定,“发明或者实用新型专利权的保护范围以其权利要求的内容为准,说明书及附图可以用于解释权利要求的内容”。这说明立法者意识到,白纸黑字的权利要求内容虽已为专利方案保护的界定付出了努力,但效果然可能有限,需要审查人员结合说明书及附图才能有效划定出保护范围。但权利要求记载的不清晰程度,可能超出立法者的原本设想。权利要求是法律通过自然语言对发明创新进行识别、转译及表述的过程,这一过程得到的结果既会受到自然语言模糊性的影响,也会因转译过程的固有噪声而损失信息量,不可避免地存在多义甚至错漏,需要进一步解释。这使得利用说明书及附图往往并非法官及审查人员“可以”自由裁量的范围,而是为了确定保护范围所“应当”付出的努力。
立法尚可谓仅“轻视”专利方案保护范围的认定难度,但在新颖性审查环节的局部,实践却完全“忽视”专利方案保护范围的认定困难。《专利审查指南》要求在新颖性环节比较专利方案与对比文件在技术领域、所解决的技术问题、技术方案和预期效果四个方面是否相同。[7]比对工作基于这四个方面进行,则界定专利方案保护范围自然也需从这四方面入手。这看似是较为全面周到的审理思路,但细究《专利审查指南》的规定,“技术方案”审查在审理步骤上处于最优先的顺位,审查员被要求首先判断专利文件的技术方案与对比文件的技术方案是否实质上相同;而在其后对比技术领域、所解决的技术问题和预期效果是否相同时,也需依托对于技术方案的认识。[8]简言之,《专利审查指南》给出的审理步骤虽然规定了“四方面”,但重心仅在于认定“技术方案”这一方面。
在界定专利保护范围时片面强调“技术方案”并不合理。优先界定具体技术设计层面的技术方案,并以技术方案认定技术领域、技术问题、技术效果,产生的实际效果将是审查机构需要直接孤立判断技术方案的内容,脱离技术领域、技术问题、技术效果的材料支持。而孤立认定技术方案,能够依赖的材料将主要是权利要求记载以及说明书中对于技术方案的直接表述。由于权利要求记载的字面含义往往存在模糊之处,若缺乏其他材料支撑,则审查人员对权利要求记载的解读空间较大,客观上,这既不利于专利方案保护范围的正确界定,也使得不同审级的认定存在较大出入。当然,审查人员会尝试借助说明书中对技术方案特征的直接论述,来消减权利要求记载中的不确定性。但说明书同样存在语言局限性问题,且未见得对于技术方案的每个区别特征都有仔细说明,审查人员理解专利方案的主要资源仍将是权利要求字面记载。由于权利要求记载往往就决定了专利方案保护范围,审查人员也将形成思维惯性,倾向于直接将权利要求字面表述视为专利方案保护范围本身,而怠于做进一步查明,形成恶性循环。
当《专利审查指南》的新颖性审查思路都隐含了对专利方案保护范围界定的忽视,问题的普遍性不言而喻。《专利法》第64条第1款所述“说明书及附图可以用于解释权利要求的内容”的努力变得稀缺,往往只能“发明或者实用新型专利权的保护范围以其权利要求的内容为准”。
三、忽视专利方案保护范围界定在“干煎炸锅案”中造成的问题
新颖性审查实践中对专利方案保护范围界定的忽视,不仅在理论层面存在缺憾,对个案裁判结果亦造成了显著的不利影响。作为新颖性审查的典型案件,“干煎炸锅案”生动说明了忽视专利方案保护范围界定,在专利方案与现有技术比对上造成的混乱。
1. 混乱的主题名称解释:“干煎炸”锅还是“干煎炸锅”
权利要求前序部分,能够限定专利方案保护范围,早在2016年就是司法解释中的定论。[9]但在“干煎炸锅案”中,北京高院认为,权利要求前序中的主题名称,若要在确定权利要求的保护范围时具有限定作用,需要具备两个特征:首先,需要涵盖不能被权利要求的其它必要技术特征体现的技术内容;其次,当不能被技术特征涵盖的技术内容存在时,该主题名称还需要对主题具有限定作用。
北京高院的裁判规则是否符合司法解释姑且不论,但法院在本案中理解“干煎炸锅”主题名称时仅基于说明书中最直接的字面记载,导致其论证有着明显疏漏。北京高院基于说明书对“干煎炸”的字面记载——“表示一种在烹调循环期间不将食物(部分以及/或者临时)浸入油或者油脂中的烹调食物的方式,即食物虽然被烹调介质(例如油)‘弄湿’,但并不浸入或者浸泡在该介质中”,而将“干煎炸”理解为一种食物的烹饪方式,并进而认为该烹饪方式是对使用者的要求而非对锅本身的限定,不存在产品结构上的限定意义。然而,说明书在定义“干煎炸”之后紧接着记载“这样,本发明的煎炸锅的工作原理与传统的热油煎炸锅不同”,表明专利权人在撰写专利文件时确信“干煎炸”在产品结构上的限定作用,但北京高院显然忽略了该处记载能够自然得到的推论,而仅接受了说明书中的字面信息,视“干煎炸”为“方式”,而否认其指向特定“结构”。
法院在新颖性审查中将“方式”与“结构”的二分绝对化,显然是受字面含义解释思路的限制,但此种“方式”并不限定“结构”的裁判观点,明显有误。照此理解,普通的家庭铁锅既然是一种锅,也可进行“干煎炸”方式的烹饪,那么也会落入法院所理解的“干煎炸锅”范围,但普通铁锅同作为产品的“干煎炸锅”之间,差距显而易见。推而广之,按照此种思路,“运动裤”、“跑步鞋”将等于“裤类”产品、“鞋类”产品,因为“运动”和“跑步”都是对使用者的要求,都将被视为对使用方式的限制、对产品结构并无任何限定作用,这显然背离了通常认知。同时,在新颖性审查的具体场景之外,对于“主题名称中含有用途限定的产品权利要求”如何认定保护范围的一般性问题,已有答案。《专利审查指南》明确记载了“主题名称中含有用途限定的产品权利要求,其中的用途限定在确定该产品权利要求的保护范围时应当予以考虑”,举例而言,用于钢水浇铸的模具,在结构上必然不同于用于冰块成型的塑料模盒。[10]而如果使用方式没有限定作用,也很难想象权利人为何会将其会写入产品专利的权利要求。
此外,“干煎炸锅案”中裁判说理的具体顺序,也与法院自己给出的审理规则思路颠倒。在对权利要求1主题名称的具体论述中,北京高院首先认定“干煎炸”的主题名称对“锅”的主题并无限定,随后认为对于“锅”这一产品主题,其代表的技术方案已经通过权利要求的技术特征所全部体现。换言之,法院在这一具体个案中先判断“对主题没有限定”,后判断“主题名称已为技术特征完全涵盖”,颠倒了其归纳的审理步骤。此种抽象思路与具体说理之间的颠倒,足见专利方案保护范围的界定不受重视的程度,在新颖性审查的个案实践中被随意对待。
综上可见,由于对专利方案保护范围的界定重视不够,使得法院对本案权利要求主题名称的处理出现了明显问题。与此同时,由于法院认为本案主题名称中的“干煎炸”不起限定作用,也使法院在解释其他区别特征时更加依赖权利要求的相关字面记载。
2. 功能含混的功能性技术特征:“涂覆装置”的解释
不同于在解释“干煎炸锅”主题名称时完全照搬说明书的字面记载,各级审理机构在本案中对于权利要求1中“涂覆装置”技术特征的理解,并未参考说明书,而是完全基于权利要求的字面含义。比如,国知局和最高院知产法庭均认为,涂覆装置作为“在主体内具有用于通过将所述食物与油脂混合而给所述食物自动涂覆油脂膜的装置,实质为功能性限定,并未限定该装置的具体结构。”而对于涂覆装置的下位结构,法院的理解也基于权利要求的字面含义。在专利权人主张权利要求记载中的“混合”应当理解为“混合搅拌”、涂覆装置因此包括搅拌装置时,北京高院认为,就“混合”特征而言,由于专利说明书并未进一步明确说明包含单独的搅拌装置,权利要求1也未对搅拌装置作出具体限定,因而本领域技术人员会按通常理解,将“混合”视为效果而非装置。
各级审理机构将涂覆装置解释为不受具体结构限定的装置,显然是接受了《专利审查指南》的思路。《专利审查指南》规定,“对于权利要求中所包含的功能性限定的技术特征,应当理解为覆盖了所有能够实现所述功能的实施方式”[11]。相较于专利权民事侵权案件中将功能性限定的技术特征解释为“说明书和附图描述的该功能或者效果的具体实施方式及其等同的实施方式”[12],在功能性技术特征的认定上,审查指南强调权利要求的外观形式,与新颖性审查中“聚焦”在权利要求字面含义的思路吻合,为审理机构所遵循顺理成章。
《专利审查指南》所采取标准本身的正当性虽然仍然存在争论,[13]但专利主题名称中若出现功能限定性的技术特征,被认为也应该遵循相同解释思路。[14]有趣的是,本案主题名称中的“干煎炸”,未指向具体结构、应当构成功能性限定,但各审级却并未同对待“涂覆装置”一样基于权利要求字面记载进行解释,而是诉诸了说明书的定义,且并未觉得有何不妥,可见尚未意识到这一问题的存在。
即使不纠结于功能性技术特征应以抽象功能还是具体实施例为准进行解释的问题,本案中审查机构对于涂覆装置所欲实现何种“功能”的认定也有所欠缺。按照《专利审查指南》,固然不能以说明书及附图来限定实现相关功能的装置结构,但这并不限制在界定功能本身时借助说明书及附图。“干煎炸锅”案中,审查机构在认定涂覆装置构成功能性限定的技术特征之后,直接将权利要求的字面记载“自动涂覆油脂膜”作为功能,而未再进一步辨析。但权利要求文字的模糊性不可避免,本案中更是如此。涂覆装置是“干煎炸锅”专利方案的核心部分,是实现说明书所称“食物虽然被烹调介质(例如油)‘弄湿’,但并不浸入或者浸泡在该介质中”的关键部件,如果仅以“自动涂覆油脂膜”的字面含义来理解涂覆装置的功能,则无异于消除了专利方案的核心区别特征。比如,假想一种自动将食物全部浸入油池后捞出的装置,其在字面上具备“自动涂覆油脂膜”功能,却并非“干煎炸”本意。
3. 脱离专利方案语境的对比文件解释:“加入油脂”特征
在本案的各个审级环节,对比文件是否公开了“加入油脂”这一技术特征,都是各方论辩以及法院认定的重点。虽然一审认定对比文件并未公开“加入油脂”,但随后三个审级的法院均认为,对比文件披露了一种可用于煎炸的技术方案,而“煎炸”是在有油脂存在的前提下进行,因此对比文件至少包含了在煎炸过程中加入油脂和使用含油脂的预制食材这两种情况,必然隐含公开了“加入油脂”的技术特征。
然而,虽然在对比文件是否具备“加入油脂”特征上的讨论热烈,对于专利方案中的“加入油脂”特征却缺乏讨论。实际上,权利要求1的文字记载中并不存在“加入油脂”四个字,对于一个权利要求中并未出现的技术特征,本案在不讨论该技术特征在专利方案中的存在以及具体含义的情况下,就直接切入该技术特征是否为对比文件所公开的问题,不免有些舍本逐末。
不过,这印证了新颖性审查中对界定专利方案保护范围的忽视。当事人及审理机构基于本专利作为“将所述食物与油脂混合而给所述食物自动涂覆油脂膜”的“干煎炸锅”技术方案,将“加入油脂”这一特征在专利方案中的存在视为当然,而疏于进一步讨论。这种直觉性的认识虽然正确,但却有失粗疏。“加入油脂”作为一种极致简化的概念,虽可勉强称为技术特征,但在如何加以实现、是否存在对应的功能结构等操作层面问题上并不清晰。
本案中,所涉各方对“加入油脂”都有其不同的具体理解。专利权人在向北京高院上诉中提出的主张,表明其是在装置结构意义上理解“加入油脂”;而专利局国知局在北京高院上诉程序中,则认为“加入油脂”包括在加工时食物自身产生油脂;最高院知识产权法庭的二审判决则显示,法院认为“加入油脂”是一种加工方法,煎炸时加入油脂和预制时加入油脂均属于提供油脂。按照国知局及法院意见,“加入油脂”作为技术特征,显然并非装置结构上的限定,甚至只需要所烹饪的食物自身含有油脂,相关烹饪设备就具备“加入油脂”特征。此种解读之下,“加入油脂”甚至难以称为区别特征,因为几乎任何烹饪设备均可满足这一特征。基于此种理解,法院在对比文件中找到“加入油脂”的技术特征当然毫不费力,但却犹如靶心不准的情况下,出发即已偏靶。
审查机构对于“加入油脂”技术特征的理解仅基于字面含义,忽略了对专利方案保护范围的界定努力,使得新颖性审查的比对工作完全脱离了涉案发明专利的初心与语境。
四、新颖性审查中界定专利方案保护范围的合理思路
疏于界定专利方案保护范围,在“干煎炸锅”案的新颖性审查中造成了种种问题,在实践中可能造成的普遍混乱亦不难想见。在问题的严重性面前,审理机构应当为技术方案保护范围付出更多努力,需要一套更加优化合理的审理思路。
1. 实质主义的思路:先“发明构思”、后“技术方案”
在寻找优化审理思路时,《专利审查指南》的新颖性审查规定虽有缺憾,但仍可作为参考。审查指南基于技术领域、技术问题、技术方案和预期效果来理解专利方案的保护范围,比较全面地归纳了这一问题的考虑要素。其中,技术领域、技术问题、预期效果三个部分,可以归纳为“发明构思”问题,探查的是发明方案从哪儿来、到哪儿去、怎么办的宏观问题,而“技术方案”部分则探查的是用以具体实现发明构思的部件及其组合方式,更加注重微观技术细节。简言之,“发明构思”和“技术方案”两部分,是理解专利方案保护范围的有效资源。
对“发明构思”的考察应当在先、对“技术方案”的考察应当在后,这一顺序十分重要。现有新颖性审查思路对界定专利方案保护范围的投入之所以不够,正是因为需要在先孤立考察“技术方案”,使得能够用于界定的辅助资料十分有限,导致完全以权利要求字面含义为准,造成诸多不合理之处。而调转“发明构思”和“技术方案”两部分的考察顺序,首先确定技术领域、技术问题、技术效果等“发明构思”,继而在结合发明构思的情况下理解权利要求给出的技术方案,这种解释思路更符合“以公开换保护”的专利法底层原理。
社会给予发明创新的专利权保护范围,应当和专利权人向社会公开披露的实际内容相匹配,从而有效激励创新活动,而非单纯依据权利要求的字面语义、完全受形式上的撰写技巧影响。只有结合“发明构思”去理解权利要求,厘清专利文件的语言文字同背后方案之间的差距,才能充分理解专利权人公开的实际技术内容。
其次,结合“发明构思”也为权利要求中技术方案的解释提供了更多资料和约束。权利要求解释的裁量空间广泛,既可能导向广义解释,也可能得出狭义解释,如果没有实体理由的指引,对权利要求的理解就可能完全变成对解释技巧的运用。而“发明构思”则提供了此种实体理由,一方面能够导向发明方案实际内容,另一方面也能够提供约束,避免得出明显违背发明目的的解释结果。
最后,从认知难度上讲,先易后难符合人认知新事物的一般规律。相较于“技术方案”,“发明构思”更为概括、简明,能够以“从哪儿来、到哪儿去、怎么办”的通俗话语展现,认知成本较低,而具体的“技术方案”则充满了各种技术细节,在理解上存在一定难度,从“发明构思”再到“技术方案”,更符合循序渐进的规律。
对比可见,《专利审查指南》及现有实践依赖权利要求字面含义确定专利方案保护范围,这可称作专利方案解释的外观主义,而注重“发明构思”、并依之解释“技术方案”,可称作专利方案解释的实质主义。
2. 实质主义的边界:维护公众预期利益
值得说明的是,虽然实质主义思路在解释专利方案保护范围时强调“发明构思”的弹性空间,但同样受到来自技术方案字面记载的刚性约束。专利法不仅需要给予发明贡献以适当的专利权保护范围,同时需要维护公众在阅读相关专利文件时产生的预期利益。尽量减少权利要求字面含义与实际保护范围之间的差距,有利于降低公众对专利权保护范围的认知成本,从而合理维护公众的行动自由空间,这与在限制专利修改空间以维护公众利益的道理一致。[15]权利人应当认真对待权利要求的撰写,而不能期待随意撰写权利要求、之后再调整专利方案保护范围。
在此思路下,引入发明构思来理解权利要求记载的技术方案,仍然需要受到“不得将说明书限制读入权利要求”的规则约束[16]。如果权利要求主张了一个十分宽泛的范围,以至于权利要求记载完全无法体现说明书中体现发明构思的创新结构,则此时发明构思的引入将实质上为权利要求引入新的区别特征,这会超越“解释”的边界,而构成“读入限制”,应当受到禁止。[17]
举例而言,如果权利要求仅为“一种能够盛水的杯子”,则其范围十分宽泛、为一基础性发明,而依据说明书中记载,权利人的实际贡献是发明并披露了能够用于杯子的把手结构,从而使得杯子具有便于握持与防烫的效果。此时,由于发明构思所涉及的创新结构把手,在权利要求中无从体现,故不能将把手结构读入权利要求。
另一方面,对于功能性限定的技术特征采取实质主义的解释径路,并不会过度损害公众的预期利益。考察发明构思需要借助说明书等权利要求书之外的材料,这自然要求在新颖性审查中采取实质主义来解释功能性限定的技术特征。而就公众预期利益的保护而言,由于民事侵权程序中亦采取实质主义立场,也同样将保护范围限制在了说明书中的具体实施例及其等同,公众并不会因为功能性限定的技术特征的存在就遭遇漫无边际的侵权风险。公众的预期利益需要维持,而专利权人的利益也需要得到保障,[18]在此情况下,没有必要维持两种不同的解释标准,专利授权确权程序中同样采取实质主义的解释思路并无问题。[19]
五、“干煎炸锅案”新颖性问题再思考
运用实质主义径路来处理“干煎炸锅案”,结合发明构思确定专利方案的保护范围,能够使权利要求1的新颖性问题得到较好解决。
1. 发明构思的界定及比对
依据涉案发明专利说明书第6-8页的记载可知,本发明涉及的技术领域是用于利用油脂煎炸食物的煎炸锅类型的家用器具。要解决的技术问题是,如何在使用少量油脂的情况下得到浸入油中烹调得到的煎炸食物的口味品质。预期技术效果是,器具使用特别卫生、安全、经济、便捷,同时制得食物美味诱人。
结合本发明的技术领域、技术问题和技术效果,依据说明书中对“干煎炸”的定义,可知本发明的发明构思为提供一种实现“烹调循环期间不将食物(部分以及/或者临时)浸入油或者油脂中的烹调食物的方式,即食物虽然被烹调介质(例如油)‘弄湿’,但并不浸入或者浸泡在该介质中”的装置,发明点在于通过一种独特设计的给油装置,达到良好的煎炸效果。
在将本发明与现有技术比对过程中,即使对比文件也采用了类似“干煎炸”的表述用词,仍需考虑二者的发明构思是否实质相同。用词相同或类似,并不表明本发明与现有技术在使用“干煎炸”一词时,实质内容也相同或类似。基于生活常识可知,煎炸烹饪一方面需要给食物覆盖油脂,另一方面需要给食物进行翻转。即使两种技术方案都名为“干煎炸”,却也可能是从给油或翻转的不同路径入手,而并未采取相同的发明构思。
就对比文件而言,其虽然也“公开了一种食品(尤其是法式炸薯条)的煎炸或加热设备,尤其是在干燥条件下煎炸或加热的法式薯条,即通过高温空气和/或红外线煎炸或加热食品”[20],但考察对比文件的说明书第3页,其实质的发明构思是通过不断旋转的容器装置,使得容器中待煎炸的内容物能够实现不断的翻转、从而受热均匀,发明点在于通过独特设计的翻转烘烤装置,达到良好的煎炸效果。[21]由此可见,在发明构思上,本发明的给油装置,并不同于对比文件2-1的翻转烘烤装置。
2. 技术方案的界定及比对
本专利和对比文件的发明构思经比对并不相同,本无需再进行技术方案层面的比对,但为增强说理的完整性,以及回应“干煎炸锅”案中的说理瑕疵,结合发明构思理解技术方案并进行对比仍为重要。
回顾权利要求1,其记载:
“一种干煎炸锅(1),该干煎炸锅包括用于容纳待煎炸的食物的主体(2),在所述主体(2)内安装有一装置(5,6),所述装置用于通过将所述食物与油脂混合而给所述食物自动涂覆油脂膜,该干煎炸锅还包括安装在所述主体(2)上的主加热器装置(24),该主加热器装置设计成产生热流(25),该热流定向成直接冲击至少一部分所述食物,所述主加热器装置(24)提供用于烹调的热的至少主要部分。”
基于权利要求1,干煎炸锅的技术方案大致可归纳为容器主体(2)+涂覆装置(5,6)+主加热装置(24)三部分,涂覆装置(5,6)和主加热装置(24)安装于容器主体(2)内部,且存在配合关系。
容器主体和主加热器装置并无太多解释及比对上的争议。本发明作为一种炊具,容器只要能够满足盛装食物、主加热器装置只要能够提供热源即可,其具体实施结构多种多样,属于本领域普通技术人员容易实现的范围。
而涂覆装置则需要深入结合技术领域、技术问题、技术效果的“发明构思”,才能合理确定该项技术特征的含义。本发明的“在使用少量油脂的情况下,得到浸入油中烹调得到的煎炸食物的口味品质”技术问题解决,主要与涂覆装置有关。由于传统的油浴煎炸装置、烤箱烤制装置均无法有效解决该技术问题,故而,专利方案中主要为解决该技术问题服务的涂覆装置,其工作原理应当有别于传统的油浴煎炸装置、烤箱烤制装置。区别于传统的油浴装置,专利方案的涂覆装置并不将食物(部分以及/或者临时)浸入油或者油脂中,而是在烹饪过程中将油加入食物并自动实现食物与油的混合,进而为食物表面均匀涂覆油层;区别于传统的烤箱烤制装置,涂覆装置使得能够在烹饪过程中将油加入食物,从而烤制未预先涂油的食物。因此,涂覆装置这一技术特征不应被解释为仅将已经一定程度上有所混合的油脂和食物进一步混合以均匀涂油,而应当被解释为将在空间上原本区隔分离的油脂添入食物,完成初始混合、随后持续混合以均匀涂油。简言之,结合发明构思,涂覆装置是一在烹饪过程中自动实现“添加油脂-混合食物-涂覆油层”的装置。对涂覆装置的此种理解,并未对权利要求1引入新的区别特征,而是对权利要求1中“将所述食物与油脂混合而给所述食物自动涂覆油脂膜”表述进行的解释,在权利要求的记载中有所依据,符合权利要求解释的基本原理。
对比文件所披露的技术方案,具备容器主体和主加热器装置这两个技术特征并无较大争议,主要争议在于对比文件是否同时披露了涂覆装置。根据前述对权利要求1的分析可知,涂覆装置为一个在烹饪过程中自动实现“加入油脂-混合食物-涂覆油层”的装置,如果对比文件公开了这一装置,则对比文件完全公开了专利方案的技术特征,权利要求1不具有新颖性。在对比文件中,披露的煎炸容器底部带有粗糙面,容器本身则相对于铅垂线倾斜布置,从而使得容器转动时能够带动须煎炸或加热的食品在容器内部部分翻转、受热均匀,由于须煎炸或加热的食品常常带有油脂,翻转过程亦在一定程度上具有混合油脂与食物的效果,使得食物表面能够涂覆油脂层,满足“混合食物-涂覆油层”的后两步效果。
不过,由于对比文件所披露的方案主要用于“在干燥条件下煎炸或加热”“不能粘结在一起的松散小食品,尤其是法式炸薯条、薯片、小薯球、炸丸子等相似食品”。这些食物本身往往经过预制、带有油脂,可见,对比文件实质是利用食物预制后自带的油脂进行加热,在发明构思上近似“传统烤箱烤制装置+混合机构”。而对比文件披露的方案并没有专用于为食物添加油脂的部件和结构,不能将在空间上原本与食物相区隔分离的油脂添加入食物,只能在一定程度上有所混合的油脂和食物加以进一步混合,其仅具有单纯的混合机构,而不具备自动实现“加入油脂”的结构。简言之,由于对比文件仅披露了“混合食物-涂覆油脂”的装置,而没有披露本专利权利要求1中“添加油脂”的结构,故而不能视为其披露了“添加油脂-混合食物-涂覆油层”的混合涂覆装置。
运用实质主义解释的思路,就“干煎炸锅”主题名称是否为对比文件所披露的问题而言,也能够提供较为扎实的结论。
在对比文件是否披露了“干煎炸”这一问题上,国知局以对比文件是在干燥条件下煎炸为理由,认为其并非“浸入煎炸”的设备,故而当然属于“干煎炸”设备。然而,在国知局用以支持其“煎炸”观点的另一对比文件2-10中,与“浸入煎炸”相对应的概念并非“干煎炸”,而是“在盛有薄层脂肪的平底锅中进行,被煎炸的物料需经常翻动以利其表面均匀加热”的煎炸方式,这显然也不是对比文件中所采用的煎炸方式,国知局关于“非浸入煎炸即为干煎炸”的二分判断明显有误。
北京高院在此问题上的论述与国知局稍有不同,法院认为对比文件特别指出该设备能够在干燥条件下煎炸法式炸薯条,而是通过热空气或红外线达到烹饪的目的,对比文件的“干燥煎炸”指煎炸物非浸入油或油脂的煎炸,因而公开了一种“干煎炸”的烹饪装置。但法院此处所强调的对比文件的重点技术特征在于加热结构,其原理与传统烤箱装置并无二致。但专利方案正是有别于传统烤箱的装置,其所称的“干煎炸”,概念核心在于在烘烤过程中利用少量油脂实现油脂的涂覆,而法院强调的对比文件技术特征,与此种加油装置设计理念并无关联。
北京高院认为,对比文件2-1所披露的技术方案既然能够使得被烘烤的食物实现均匀煎炸的效果,即表明该装置能够使得“食物在滚动和下落的过程中能够实现油脂与食物混合,并均匀涂覆油脂”。然而,即使对比文件2-1真的能够在翻转食物的过程中实现均匀涂覆油脂的效果,但本专利所称的“干煎炸”对涂覆油脂的方式有明确限定,即在食物“并不浸入或者浸泡”油脂的情况下实现涂覆。考察对比文件2-1的技术方案,由于其主体为一“倾斜的旋转容器”,当向该容器中加入食物和油脂时,依据常识可知,食物和油脂会堆积在该容器底部的倾斜角位置,造成至少部分食物浸泡在油脂中,而即使该容器启动旋转,部分油脂仍然会在底部倾斜角位置形成油池,旋转到底部的食物仍然会浸入油脂、遭受“油浴”,并不满足本专利所述的“干煎炸”定义。
综上所述,对比文件在发明构思和技术方案上均与专利方案不同,并未实现对权利要求1中技术特征的全面覆盖,权利要求1相对于对比文件2-1具备新颖性。
六、结语
“以公开换保护”是专利法的基本原理,准确界定本专利权利要求的保护范围,既是为专利权人提供有效激励的基础,也是维护公众合理行动自由的保障,不仅应在专利民事侵权程序中认真对待,亦应在专利授权确权程序中得到足够重视。
而在进行新颖性审查时,专利文件中的权利要求书、说明书及附图共同提供了界定专利方案保护范围的资源,均应加以利用。权利要求书的字面记载并非完全可靠,直接以技术方案的细节入手,存在一叶障目的风险。审查人员应当首先在权利要求书的基础上结合说明书及附图来理解专利方案的发明构思,从宏观上获取专利方案“是什么”、“从哪儿来”、“到哪儿去”、“怎么办”的整体思路。
然后,审查人员应当以发明构思为指引,结合说明书及附图理解具体技术细节层面的各项特征,从而合理划定专利方案的保护范围。在有效理解专利方案保护范围的基础上,审查人员在比对专利方案与现有技术时,亦应当采取先比对“发明构思”、后比对“技术方案”的两步法,以得到可靠的审查结论。
注释(上下滑动阅览)
【1】参见第21512号无效宣告决定、(2017)京73行初5126号判决书、(2018)京行终2767号裁定书、(2019)京73行初1490号判决书、(2019)最高法知行终184号判决书。
【2】参见崔国斌:《专利法:原理与案例(第二版)》,北京大学出版社2016年版,第189页-192页。
【3】权利要求1中记载,“[…]所述主体(2)内安装有一装置(5,6),所述装置用于通过将所述食物与油脂混合而给所述食物自动涂覆油脂膜[…]”,“涂覆装置”指代权利要求1中的装置(5,6)。
【4】《中华人民共和国专利法》(2020年修订,以下简称“专利法”)第22条;《专利审查指南》(2021年版)第二部分“实质审查”第三章“新颖性”第3节“新颖性的审查”。
【5】《专利审查指南》(2021年版)第二部分“实质审查”第四章“创造性”第2节“发明创造性的概念”2.4 “所属领域的技术人员”。
【6】《中华人民共和国专利法》(2020年修订)第26条第4款。
【7】《专利审查指南》(2021年版)第二部分“实质审查”第三章“新颖性”第3节“新颖性的审查”3.1 “审查原则”。
【8】同前注。
【9】《最高人民法院关于审理侵犯专利权纠纷案件应用法律若干问题的解释(二)》(2016)第5条。2020年修订后的该司法解释原样了保留本条规定。
【10】《专利审查指南》(2021年版)第二章“说明书与权利要求书”第三节“权利要求书”3.1“权利要求”。
【11】《专利审查指南》(2021年版)第二章“说明书与权利要求书”第三节“权利要求书”3.2“权利要求书应当满足的要求”。
【12】《最高人民法院关于审理侵犯专利权纠纷案件应用法律若干问题的解释》(2009年)第4条。
【13】参见崔国斌:《专利法:原理与案例(第二版)》,北京大学出版社2016年版,第636页。
【14】参见张本勇、陈健淋:《专利主题名称中功能性技术特征的等同认定》,载《人民司法》2020年第23期。
【15】参见崔国斌:《专利法:原理与案例(第二版)》,北京大学出版社2016年版,第382页。
【16】参见株式会社久保田、国家知识产权局专利行政管理(专利)再审审查与审判监督行政裁定书,(2018)最高法行申4750号。
【17】https://bjgy.bjcourt.gov.cn/article/detail/2012/05/id/885871.shtml
【18】参见最高人民法院(2018)最高法民申1018号深圳市华泽兴业科技有限公司、广州同明太阳能科技有限公司侵害实用新型专利权纠纷再审审查与审判监督民事裁定书。
【19】崔国斌:《专利法:原理与案例(第二版)》,北京大学出版社2016年版,第636页。
【20】PCT W089/10085A1, Description, p1, sentence 9-13.
【21】同前注,Description, p3.
作者:李安然
编辑:Sharon


